图像处理
新闻详情

镜头MTF图-透光率-变形率

发布时间:2019-09-12 10:58:58 最后更新:2020-11-23 14:49:37 浏览次数:7846

每一只ZEISS的镜头,都有附上一张图表,显示其MTF值,透光效率(Relative illuminance)及变形效率(Distoration in%)。我们可以由这三个图大略地判断出一个镜头的特性及其优劣。

㈠MTF(Modulation Transfer Function)

MTF图是将一个镜头的解析力用数据的方式表示出来。MTF测量机器是由ZEISS发展、制造出来,并且提供给其它厂商用来测量其镜头。而ZEISS所生产的每一个镜头都必须先经过这套仪器测量,符合标准的才上市。


MTF在对镜头做测试时,是对镜头输入一组固定频率的光线,再利用光学仪器去计算切线及法线方向每lmm可以读到多少对线(Line Part)。

例如lmm中有40道白光,此时会形成40组黑白线条。这组光线在经过镜头之后,会因为光学损而开始显得不是那么地黑白分明。经由仪器的测量就可知道此镜头各个区域对这一组黑白线条的分辨能力。

在MTF图中,垂直坐标表示对黑白线条的分辨能力。1.0表示百分之百完全分辨,0.6表示只有六成的分辨能力,此时白色线条略带灰色,黑色线条也不是深黑色。0.0表示完全无法分辨,所呈现出来的只是一片灰色。

水平坐标表示底片中心到底片边角的距离。由于镜头设计时其清晰呈像图以须涵盖全部的底片,而以底片对角线做为清晰呈像图的直径即可达到这个要求。在MTF图中,取底片中心到对角线的路径(亦是清晰呈像图的半径,在35mm规格的底片中长度大约是22mm)就足以表示出从底片中心到底片边缘的解析力表现。


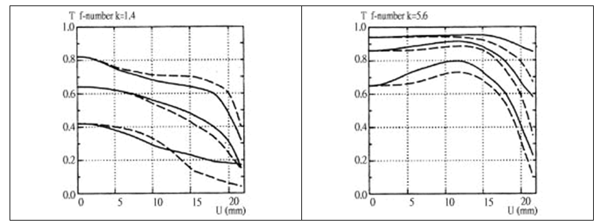
Zeiss的MTF图中共有三组线,第一组线代表对lmm中10对线的辨识能力属于对低解析的要求。第二组线代表对lmm中20对线的辨识能力。第三组线代表对lmm中40对线的辨识能力,属于对高分辨率的要求。在每一组线中实线代表法线与清晰呈像图半径相平行的,虚线则代表相垂直的线。

MTF图通常都会两个光圈值的图表;一个是全开光圈(镜头表现最差的光圈值),一个是中间级光圈(镜头表现最好的光圈值),我们以CONTOX F/1.4-50MM为例说明:在F/1.4时:底片中心对10 lp /mm的辨识能力约为82%,对20 lp /mm的辨识率约为64%,对40lp /mm的辨识率约为70%左右,对20lp/mm的辨识率约为57%,对40 lp/mm的辨识率约为30%。在底片的最角落(22mm处),对10 lp/mm的辨识率介于30%~40%之间,对20 lp/mm的辨识率约18%,对40lp/mm的辨识率介于5%~18%(约10%左右)。在收光圈(f/5.6)时:底片中心对10 lp/mm的辨识率约为95%,对20lp/mm的辨识率约为86%,对40 lp/mm的辨识率约为65%。距底片中心10mm处,对10lp/mm的辨识率约为95%,对20 lp/mm的辨识率介于87%~92%(约为90%左右),对40 lp/mm的辨识率介于70%~79%之间(约为75%左右)。底片的最角茖(约22mm处),对10 lp/mm的辨识率介于68%~84%(约为75%左右),对20 lp/mm的辨识率介于35%~59%(约为47%),对40 lp/mm的辨识率介于10%~24%(约17%左右)。


在了解MTF图的涵意之后,我们可以由MTF图轻易地判断一颗镜头的优劣。通常曲线的位置越高,水平下降越少,表示镜头的表现越好。但是在判读,MTF图时,须要注意到两点:

一般人在判断MTF图时,比较注重40 lp/mm曲线的表现,而忽略了10 lp/mm,20 lp/mm的表现40lp/mm对微末细节的表现是有很大的影响,但是10 lp/mm,20 lp/mm的表现会影响到整个画面质感与层次感。且因为底片的特性或放相、印刷时的损失,影像的细节纹理常常难以表现例如用一般彩色负片洗成4”*6”的生活照片,事实上是无法表现出40 lp/mm曲线的特性。

对于解析力相同,但反差不同的镜头,在MTF图上会有不同的曲线出现。由于MTF只对纯粹的黑白线条做辨识,并没有中间调,因此高反差的镜头可轻易地形成漂亮的MTF曲线。但是反差过高的镜头在实际拍照时有它的缺点。例如对两个解析力相同但反差不同的镜头对同一个景物的暗部测光,做为曝光标准,反差适中的镜头可以同时保有亮部的细节,而反差高的镜头在亮部可能会曝光过度而丧失细节。

如果是拍摄一件单色的衣服,例如绿色,衣服会因为皱折起伏而产生不同的色调变化,如深线、浅线等,这时反差适中的镜头所能纪录的色调变化会比反差过高或过低镜头来得丰富。在这里必须建立一个观念:锐利感并不等于高解析力,高反差的镜头可以使人产生锐利底也可以在MTF图上得到很好的测试结题。但是,对于色调变化的记录能力,在MTF图上是表现不出的,这是MTF的盲点。一个好的镜头,应该是呈像柔和,而色调与细节都能表现丰富。

(二)变形率(Distortion in % image height u)

所有的镜头都存在有变形的现象。其中以直线线条最为明显。实物中的直线,在经过镜头的呈像之后而显得为弯曲,就是产生了变形,如果直线是朝内向底片中心(光轴)弯,一般称之为枕状变形。如果底片是朝外向底片边缘弯曲,一般称之为桶状变形。在ZEISS所附变形率图表中,水平坐标仍然代表着从底片中心到边角的距离,垂直坐标则代表着变形率。变形率为”负”(曲线往下降)表产生桶状变形。变形率为”正”(曲线往上扬)表示产枕状变形。基本上变形率在+-(坐标图中垂直坐标为+、-、2.0)以内都是合乎标准。

 

(三)透光率

在透光率图中,水平坐标代表从底片中心到边角的距离。垂直坐标则代表着透光率高低。1.0表示在底片上所呈现的是100,透光(标准曝值),0.0表示完全不透光,0.6表示有60%的透光率。而在坐标中的虚线与实线,所代表的是不同光圈级数中所产生的透光率曲线。所有的镜头都会有不同程度的边角失光现象,但是在经过放相成为照片之后,几乎无法察觉这种失光现象,因为放大机的镜头也会有失光,所以在放相的过程中会形成一种互补的效应而消除了失光的现象。

 

镜头的调制传递参数(MTF)

MTF:同时表征系统重现物方空间的几何和灰度细节能力,是衡量成像系统性能的最佳方式。对于一个实际的成像系统,细节密集地方的对比度要小于细节稀疏位置的对比度.


MTF图

如何去看MTF图,如上图所示,横轴表示镜头的分辨率,纵轴表示对比度即MTF值,一般在设计镜头时,MTF值要在0.3(即对比度在30%以上)。On axis表示在光轴上即镜头中心的MTF曲线,2mm off axis表示像高在2mm时候的MTF曲线,同理4mm off axis表示像高在4mm时候的MTF曲线。

镜头分辨率要做到多少线对才能符合ccd的要求,假如ccd的像元大小为:3um*3um ,则分辨率的极限为:1000/3/2 =170line/mm,此极限称为奈奎斯特极限,一般在设计镜头的时候,镜头的分辨率应为奈奎斯特极限分辨率的1/3 ~1/2,即镜头的分辨率在85lp/mm的时候最好,且在设计的时候MTF值在0.3以上。

奈奎斯特定理即采样定理,当采样频率fs.max大于信号中最高频率fmax的2倍时,即:fs.max>=2fmax,则采样之后的数字信号完整地保留了原始信号中的信息;

以施奈德的镜头为例,如何去看MTF图,以及各个参数的含义:


施奈德镜头MTF图

镜头APO-XENOPLAN1.4/23的MTF参数表如上图所示,我们通过解读MTF图来了解这款镜头的特性。

WaveLength为表示光波波长;Spectral Weighting:表示光谱响应的权重,就是不同波长光占的百分比,由CCD决定,CCD上有光谱响应的曲线,可以看出,需要选定CCD后才进行相应的镜头设计,波长的权重不同影响很大,否则可能导致前期的设计白做。

Spatial frequency R[1/mm]:指空间频率,就是分辨率,线对数。

Format[mm x mm]:表示镜头对应的CCD的尺寸最大为6.6mm x 8.8mm

Diagonal 2u’[mm]:表示镜头对应的CCD对角线的尺寸最大为11mm

图中纵坐标表示MTF值,横坐标为最大视场的百分比,最大视场5.5mm,这个图意思就是最大视场不同百分比(即不同视场)时三种线对数对应的MTF值。

f'=22.9就是焦距22.9mm,OO' =1185表示物像距离为1185mm。

 

客服电话
  • 0755-23712116
  • 13310869691